작성일
2025.06.23
작성자
윤종범
조회수
787

2025학년도 2학기 임상실습 비상연락체계 및 안전사고 대응 매뉴얼

2025학년도 2학기 임상실습 비상연락체계 및 안전사고 대응 매뉴얼 공지드립니다.


학생분들은 참고 바랍니다.


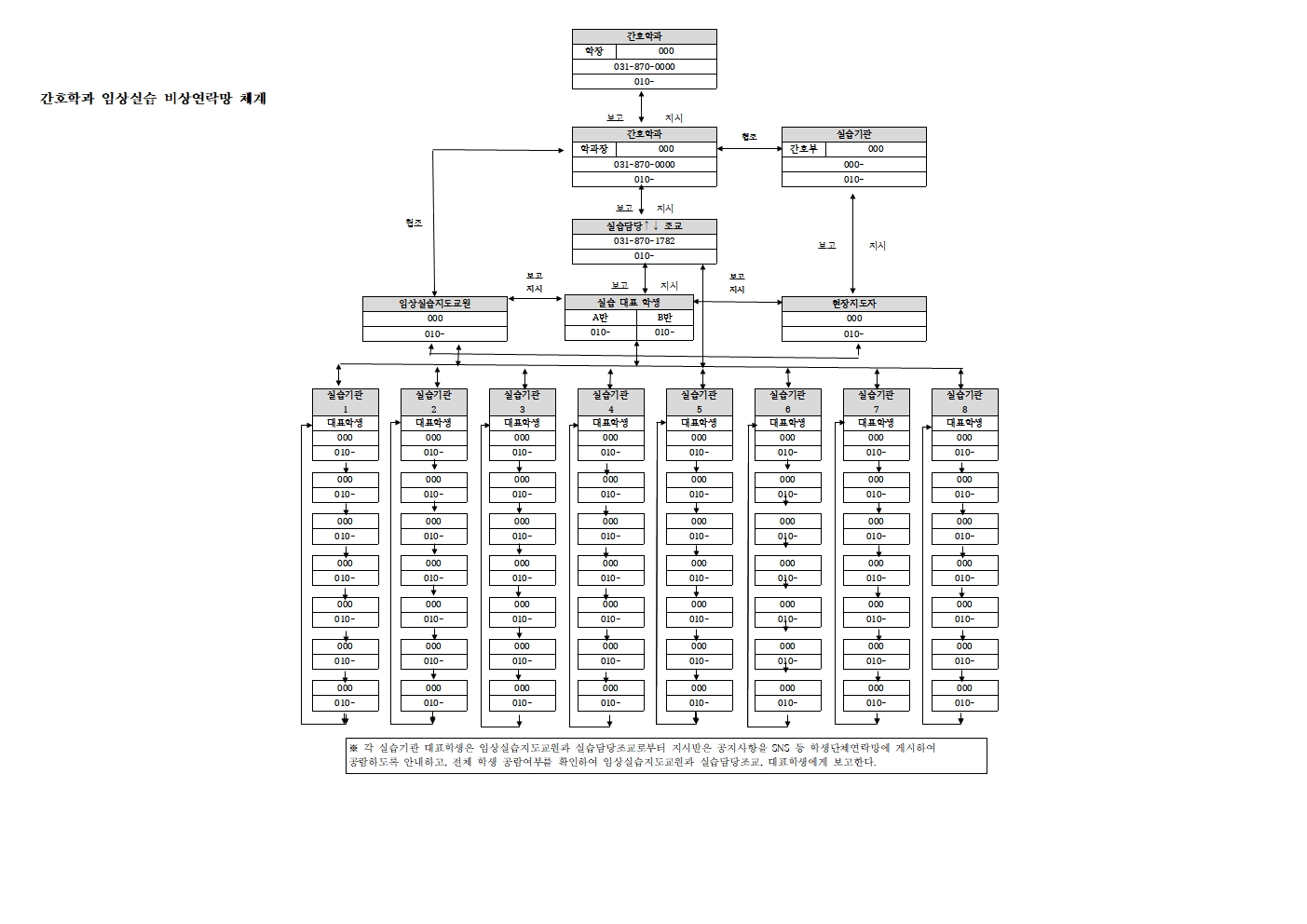
<1. 간호학과 임상실습 교과목 비상연락망 체계>

<2. 임상실습 교과목별 비상연락체계양식>

<3. 임상실습 안전사고 대응 매뉴얼>

첨부파일
다음글
국제진료간호과정 교육생 선발안내
윤종범 2025-11-10 09:08:12.557
이전글
2025학년도 간호대학 교학간담회 질문/답변 공지
윤종범 2025-09-15 13:13:51.77